近期,警方与中国裁判文书网分别披露了现金贷暴力催收的相关涉黑案件;更有老友现身投诉,一种新的贷款套路正兴起:在没有机会看合同的情况下,借款人网贷一万五千元,前两个月就得还七千多元,综合年利息近80%。
老友们手机上经常会接到现金贷的推广链接,打着 “无抵押、无担保、无利息”的幌子吸引人。不少老友点击借贷后,却掉进了“高利贷”的套路。近期,警方与中国裁判文书网分别披露了现金贷暴力催收的相关涉黑案件;更有老友现身投诉,一种新的贷款套路正兴起:在没有机会看合同的情况下,借款人网贷15000元,前两个月就得还7137.48元,综合年利息近80%。这不仅远超借款人的负担能力,也涉嫌违反国家法律规定的贷款利率红线。律师忠告老友们,对于现金贷,千万别碰!千万别碰!千万别碰!
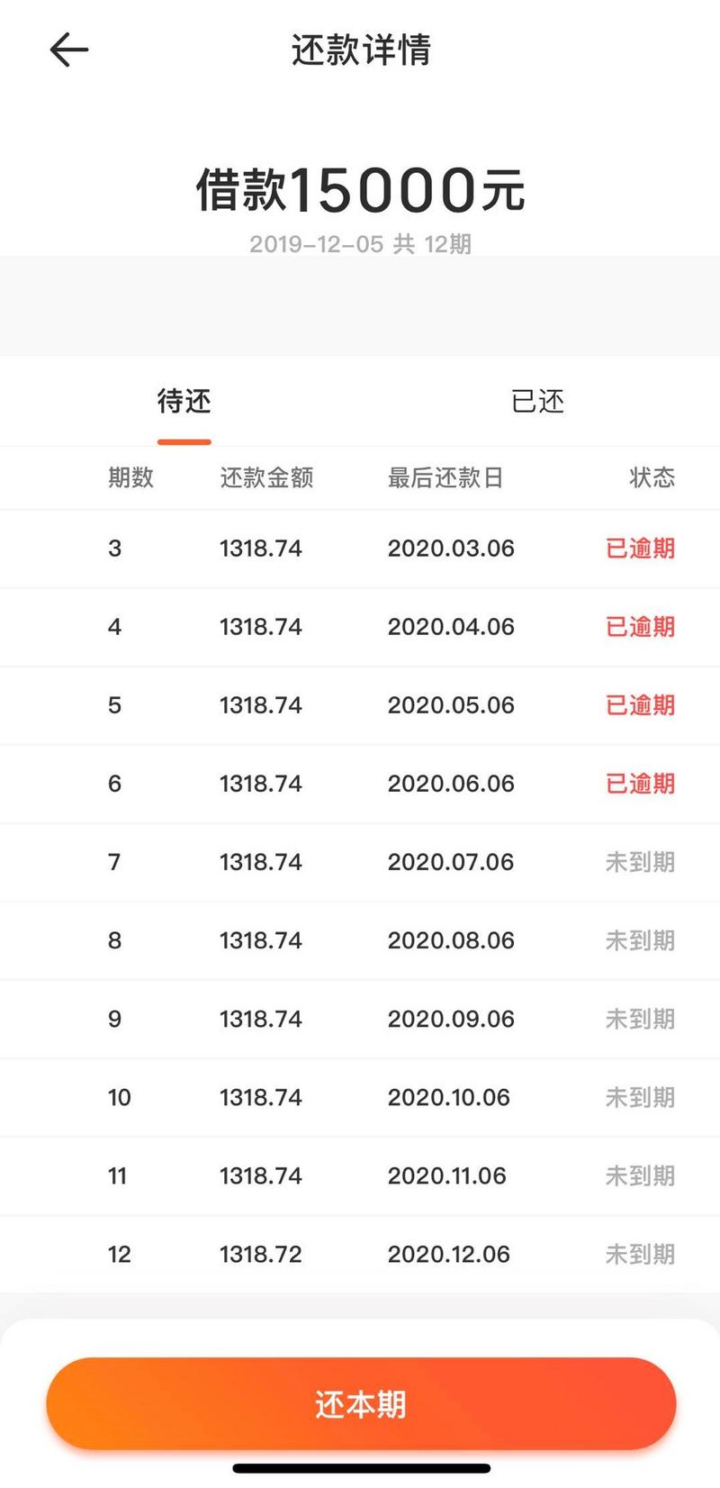
新套路:贷款15000元,前两个月就要还7137.48元
2019年12月5日,籍贯甘肃省榆中县的高飞龙通过百融云创科技股份有限公司旗下的榕树贷款APP申请了一笔15000元的贷款,约定共分12期还款。但让他想不到的是,噩梦在点击“确认”的那一刻就开始了。

高飞龙告诉记者,“贷款15000元放款后,在至今没有机会看合同的情况下,我发现第一期和第二期的还款金额均是3568.74元,这相当于头两个月就要还7137.48元。并且接下来10个月,利息仍然按照15000元计算,每期分别归还1318.74元。”

高飞龙提供的截屏显示,其于2020年1月6日和2月6日先后归还了3568.74元。疫情发生后,高飞龙丧失了稳定的收入来源,其主动和平台沟通,希望减缓还款,但是被平台拒接。高飞龙说,“与平台多次沟通,榕树贷款让我找‘你我贷’,但是‘你我贷’客服专员从未与本人联系。”
高飞龙认为,该贷款的新套路就在于头两个月已经归还了大半本金!他找到了银行工作的朋友帮忙计算,结合头两个月就扣掉近一半的贷款额的情况,认为综合年利率高达78%。这意味着这笔15000元的贷款实际综合年利率远高于国家36%的红线。
停止还款后遭遇无穷无尽的催收骚扰
高飞龙于3月暂停归还每期1318.74元的还款任务。随之而来的是自称为平台催收人员无穷无尽的骚扰,“他们给公司、家人进行催收,严重侵扰了的我的正常生活。”
高飞龙的遭遇并非孤例,记者登录在黑猫、聚投诉等投诉平台看见,其中充斥着大量网贷的投诉。例如截至8月4日,在黑猫平台,针对榕树贷款的投诉量达740个;在聚投诉平台,针对榕树贷款的投诉帖有657个。上述投诉中绝大多数与榕树贷款导流提供的高利息贷款产品有关。投诉者普遍称接到电话骚扰暴力催收的情况。

有网贷借贷人在论坛上组织了维权QQ群。记者在群里了解到,葛仟超和群里另外近200名借贷人一样,多数是通过榕树贷款平台,借到了恒易贷、你我贷、及贷、时光分期、玖富万卡等产品。葛仟超介绍说,“我们是实在被逼的没办法了,跟网贷平台维权,太难了!给4个贷款平台寄去律师函,3封没下落,1封直接被对方拒收了。”
有借贷人尝试集体投诉,写一封联名信,征集了几十个签名,准备发给监管部门的投诉平台。但现在他们能做的,就是继续扩充队伍,争取以人数迫使平台回应。

客服回应:平台仅仅提供借款产品导流
投诉者反映的情况是真的么?8月6日,记者与榕树贷款的客服进行了沟通。客服表示,榕树贷款只是一个第三方借款推荐平台,本身不放款。平台上有很多可以给客户放款的产品,这些产品都是合规的。
客服介绍说,客户申请哪个贷款产品,就和哪个产品方签订合同,这个是不经过榕树贷款的。而合同是在审核通过后,出借方与借款人签订,具体还款的时间和金额由客户申请的产品方制定。
记者了解到,正是因为榕树贷款平台不直接放贷,只导流给用户推荐贷款产品。多数通过榕树贷款借钱的借贷人直到发现利率太高,无力偿还被追究责任时方知道具体的放贷方。因此在投诉平台,记者发现,针对榕树贷款的投诉数量往往比具体的放贷方还多。

警方:暴力催收涉黑案件曾致一人死亡

5月29日,中国裁判文书网则披露了贵州省六盘水市中级人民法院宣判周纯、李毅组织、领导、参加黑社会性质组织、诈骗、敲诈勒索、开设赌场罪名成立,周纯被判处有期徒刑25年的案件。其将榕树贷款母公司百融云创科技股份有限公司牵涉暴力催收涉黑案件的冰山一角进行了披露。
在该案件中,百融云创科技股份有限公司曾通过旗下百融卓诚科技有限公司,持有百融卓诚(贵州)金融信息服务有限公司60%的股权。该公司的另外40%股权,正是由涉黑人员周纯持有。

据中国裁判文书网显示,百融卓诚(贵州)金融信息服务有限公司40%的股份,系以周纯为首的黑社会性质组织通过违法犯罪活动或者其他不正当手段聚敛的财产,予以没收,上缴国库。
就在2019年4月24日,涉黑人员周纯被限制居住之前,百融云创在2月20日切割了与涉案公司百融卓诚科技有限公司的股权关系,即涉案公司原来的法人股东百融至诚(北京)信用管理有限公司退出了。随后,该退出的公司更名为“鑫科智惠”。根据企查查,“鑫科智惠”直接参股去年底被山东警方立案侦查的潍坊百盾众安和北京信雅乐达两家涉黑暴力催收公司。
据山东官媒齐鲁网报道,山东诸城市公安局在潍坊市公安局指挥下,与高密市警方密切合作,一举打掉杜某某“套路贷”犯罪团伙。杜某某相关的潍坊百盾众安及北京信雅乐达两个公司,有组织地给借贷人及其关系人打电话辱骂、发信息侮辱、P图、订到付外卖、叫120救护车、叫殡仪车、叫搬家公司、订到付殡葬花圈等,进行暴力催收。百盾众安公司涉及552万条催收记录,并致一人死亡,造成严重社会影响。
律师支招:老友千万别借年利率超24%的钱
广东环球经纬律师事务所律师彭玉华告诉记者,《最高人民法院关于审理民间借贷案件适用法律若干问题的规定》第二十六条规定,借贷双方约定的利率未超过年利率24%,出借人请求借款人按照约定的利率支付利息的,人民法院应予支持。借贷双方约定的利率超过年利率36%,超过部分的利息约定无效。借款人请求出借人返还已支付的超过年利率36%部分的利息的,人民法院应予支持。
举例来说,若借贷双方约定的贷款利率低于24%,法院支持借款人连本带息收回贷款。如果贷款利率高于36%,法院不承认超过36%部分的利息。如果借贷双方约定的贷款利率高于24%,低于36%,法院一般会尊重既定发生的事实,也就是法院不管你们之间的事,由你们自己协商解决。
最高法院还规定:各种以“利息”“违约金”“服务费”“中介费”“保证金”“延期费”等突破或变相突破法定利率红线的,应当依法不予支持。也就是说,最高法所说的利率红线是指包括了各种名义的收费加起来的综合利率。法律认为,“中介费”、“服务费”等等实际上是利息。
近年来,随着移动互联网的发展,小额现金贷兴起,随之而来的是超高利率、暴力催收、逼人跳楼等负面新闻,各现金贷平台年利率动辄50%~60%,有的超出正常贷款利率的几十倍,高达500%甚至1000%。这个时候,就需要用上述利率红线来规范现金贷平台的行为。
彭玉华表示,在小额现金贷的交易往来过程中,如以非法占有为目的,以民间借贷为名,诱使或迫使被害人签订目的与实际情况不符的“借款合同”、“抵押担保合同”等相关协议,制造虚增借贷金额、恶意制造违约、肆意认定违约、毁匿还款等证据,借助公权力,如以诉讼、仲裁、公证等方式,或者采用暴力胁迫以及其他手段非法占有被害人财物的相关违法行为,可能构成“套路贷”。
(来源:广州日报全媒体文字记者 刘幸)

